Подготовительный этап
Перед тем, как сделать кровать трансформер, стоит обзавестись электрическим лобзиком, пилой, шуруповёртом, рулеткой, угольником, уровнем, электродрелью с достаточным количеством свёрл, перфоратором и плоскогубцами.

Помимо этого, необходимо приобрести необходимые материалы, из которых и будет собираться конструкция
Стоит уделить внимание качеству сырья.

На следующем этапе следует обзавестись чертежом понравившегося Вам варианта меблировки. Его можно найти в свободном доступе на различных сайтах в сети Интернет или нарисовать самостоятельно.

Если конструкцию разрабатываете сами, то сначала следует продумать, какой тип трансформации будет. Для этого рисуется эскиз будущей меблировки с заданием габаритных размеров.


Шкафы трансформеры ИКЕА
Шкаф кровать
Шкаф кровать
Сравнительно недавно шкафы – трансформеры стали неотъемлемой частью интерьера многих жилых помещений. Данный вид мебели своей функциональностью и практичностью стал популярен у покупателей. В каталоге магазина вы сможете увидеть лучшие модели шкафов этого года.
Шкафы – кровати трансформеры бренда ИКЕА
В современном мебельном производстве встречается много разной необычной мебели, но шкафы – кровати стали настоящим прорывом. Разместить в малогабаритной квартире полноценную двуспальную кровать и шкаф – купе не предоставляется возможным, поэтому приобретение трансформера является оптимальным вариантом.
Гардеробные системы Икеа не только экономят пространство, они выглядят стильно. Ночью шкаф можно перевернуть, и получится полноценное спальное место, а днем удобную кровать, вернув в изначальное положение можно использовать в качестве шкафа для одежды. Сотрудники шведской компании Икеа комплектуют кровати специальными матрасами, обеспечивающими полноценный сон. Пользоваться таким удобно. Благодаря тому, что гардеробные системы Икеа оснащаются газовым механизмом, можно без труда разложить и сложить шкаф – кровать.
Шведская компания Икеа предлагает шкафы – кровати двух основных модификаций, доступных покупателю:
- шкаф трансформер- кровать, крепящиеся к стене торцом;
- шкаф трансформер- кровать, направленный боковой стороной к перегородке.
В разложенном виде первый вариант занимает много места, а второй вариант наоборот сэкономит площадь помещения. Среди преимуществ приобретения кровати – трансформера выделяются такие:
- экономия пространства;
- многофункциональность;
- простота в эксплуатации;
Стоимость данного вида мебели зависит от материала, используемого при производстве. Компания создает, как бюджетные варианты из шпона, так и дорогие модели из натуральной древесины. Благодаря качественному производству, гардеробные системы Икеа выдерживают до 10 тысяч циклов сложения и разложения. Помимо прочего шведская компания дает гарантийный срок 2 года на кровати – трансформеры.
Шкафы – трансформеры. Кровать, кресло – три в одном.
Компания Икеа не жалеет средств на различные исследования и разработки, поэтому инженеры пошли еще дальше и создали некоторые виды трансформеров, именуемые – три в одном. Сейчас выпускается два вида подобной мебели:
- шкаф, кровать, секретер;
- шкаф, кровать, диван.
Гардеробные системы – трансформеры Икеа имеют различные расцветки, однако на ряду с этим они не декорированы вычурно. Приобрести трансформер возможно дополнительно с иными предметами. Многофункциональные предметы мебели «три в одном» отлично подходят владельцам квартир, площадь которых не позволяет размещать много мебели.
Каркасы гардеробных систем от Икеа выполняются из металла, дерева, ДСП и МДФ. Последние два варианта по стоимости – бюджетные. Срок эксплуатации данного вида мебели составляет около 20 лет. Ухаживать за мебелью Икеа просто. В каталоге товаров имеются трансформеры, предназначенные для взрослых и детей.
Огромная цветовая палитра изделий позволяет подобрать вариант мебели на любой вкус. По типу раскладывания трансформеров, компания предлагает два варианта: горизонтальный и вертикальный. Приобретая высокофункциональную мебель от вышеуказанного бренда можно получить удобную кровать, стильный шкаф, и если «три в одном» также диван.
Советы по выбору
.Перед покупкой шкафа-кровати необходимо заранее продумать будущую планировку комнаты, так как есть риск, что такая мебель еще больше загромоздит комнату:
Первое, на что нужно обратить внимание – это размеры кровати. Если комната имеет небольшие размеры, то лучше выбирать шкаф-кровать с вертикальным откидным механизмом. При достаточном пространстве можно выбирать любую модель, главное, чтобы она лаконично вписывалась в интерьер
Предварительно делается замер пространства, отведенного под данное спальное место
При достаточном пространстве можно выбирать любую модель, главное, чтобы она лаконично вписывалась в интерьер. Предварительно делается замер пространства, отведенного под данное спальное место.
Второе, это выбор дизайна. Оформление фасада тоже является одним из главных моментов. Очень часто шкафы-кровати делают из МДФ или ДСП. Иногда фасадную часть могут выполнять из цельной древесины, пластика либо нескольких материалов. Также стоит отдавать предпочтение моделям со встроенными зеркалами либо подсвечивающими панелями, благодаря которым можно читать вечерами в кровати, не покупая дополнительный торшер или лампу.
- Тщательно следует выбирать механизм трансформации, особенно если такая кровать будет в детской комнате. Как уже было сказано ранее, бывают газовые и пружинные механизмы. Мастера советую отдавать предпочтение газлифту, так как пружины со временем теряют свою эластичность и ломаются.
- Что же касается опоры кровати, то многие потребители советуют не выбирать спальное место с отдельными ножками, лучше всего выбирать сплошные доски в качестве опоры.
- Самое главное в выборе – это безопасность самой конструкции, поэтому необходимо попросить продавца показать сертификат качества, чтобы быть спокойным и уверенным в том, что кровать не сломается во время сна или не упадет, когда она в поднятом положении.



Дизайн мебели
Отдельного внимания заслуживает оформление фасадов шкафа, в который убирается кровать. Существует масса возможных вариантов.
- Классические двери из ДСП, подчеркивающие лаконичность помещения.
- Зеркальные фасады, помогающие зрительно расширить пространство спальни. Особенно выгодно смотрятся в миниатюрных комнатах.
- Двери из акрила с нанесенной на них фотопечатью открывают простор для фантазии владельцев.
- Пескоструйные рисунки на зеркальной поверхности.
Нередко в спальне размещается кровать, встроенная в удобный шкаф-купе. Его раздвижные двери также могут быть выполнены в абсолютно любом стиле.

Типы механизмов
Мебельное производство не стоит на месте и постоянно развивается. Популярные модели со временем устаревают и на их смену приходят новые, которые также приобретают широкую популярность. Кровати, встроенные в стены, и шкафы уже на протяжении долгих лет не сдают свою позицию и остаются востребованными. Свою известность они получили благодаря специальным механизмам, которые позволяют их поднимать вертикально без особых усилий.
Подъемное устройство – важный элемент в конструкции трансформирующейся кровати. Благодаря этим модулям вся конструкция, которая весит несколько десятков килограмм, легко поднимается и превращается в вертикальный фрагмент шкафа или стены. Разделяют несколько подъемных устройств:
- Ручной способ;
- Пружинный механизм;
- Газлифт.
Первый вариант наиболее дешевый, но и самый капризный, требующий периодической регулировки и некоторых усилий при поднятии мебельного изделия. Механизм не содержит дополнительных пружин и амортизаторов, поднятие выполняется полностью ручным способом.
Витые пружины изготовлены из прочной углеродистой стальной проволоки. Срок эксплуатации таких механизмов достигает 70 лет и это при ежедневной трансформации мебели. Единственным минусом устройства является появление шума при работе. Пружины через время могут растянуться и потребуют замены.
Третий вариант самый удобный и сложный. Работа модуля основана на действии поршневых устройств, наполненных сжатым воздухом. При изменении положения откидной кровати, подъемный механизм плавно меняет позицию мебели. При этом особых усилий прикладывать не надо, устройство само все сделает. Газовый лифт на сегодня является самым дорогим из всех видов устройств.
Существуют модели устройств, оснащенные электрическим приводом с дистанционным управлением. Это отличный способ трансформации мебели для людей с ограниченными возможностями или тех, кто ценит все техногенное.
ГазлифтРучнойПружинный механизм
Виды кроватей встроенных в стену
Существует большое количество разновидностей кроватей, которые можно убрать в стену. Все эти модели можно разделить на несколько видов:
- Вертикальные откидные кровати встроенные в шкаф. В изголовье соприкасается со стеной.
- Встроенная кровать с горизонтальным механизмом. Представляет собой нишу, встроенную в шкаф или стену. Соприкасается со стеной боковой частью.
- Кровать – гармошка, представляет собой раскладывающийся диван, встроенный в стену.
Складные кровати в стену
Кровать спрятанная в стене позволит значительно сэкономить место в небольшой комнате. Мебель обладает особым механизмом, который позволяет трансформировать спальное место в неприметный шкаф. Существует большое количество кроватей-трансформеров, которые можно убирать как при помощи небольших усилий, так и с помощью пульта дистанционного управления.
В зависимости от собственных предпочтений, вы можете выбрать кровать, которая прячется в отдельно стоящий шкаф, или же приобрести вариант с дополнительными шкафами, полочками, а также полноценным рабочим местом. Такие практичные решения позволяют значительно сэкономить место в комнате, и придать интерьеру современный вид.
Кровать-трансформер обладает большим количеством преимуществ:
- Такой вид конструкции экономит место в небольшой комнате.
- Постельные принадлежности на складной кровати можно не убирать каждый день. Они крепятся специальными ремнями, не сползают и убираются вместе с кроватью в стену.
- Кровать убирающаяся в стену, может иметь любой дизайн и изготавливаться из разных материалов. Вы можете подобрать модель исходя из своих вкусов и интерьера. Многие выбирают шкафы с кроватью в качестве центрального предмета интерьера.
- Трансформирующаяся кровать по комфорту и удобству не уступает обычным стационарным моделям. Вы сможете получить полноценный отдых.
- С помощью такой мебели в одной маленькой комнате можно организовать сразу несколько зон. В ночное время вы сможете создать комфортную спальню, а днем организовать кабинет с удобным рабочим местом или игровую комнату для ребенка.
Среди недостатков следует выделить высокую стоимость. Складная кровать в стену будет стоить в несколько раз дороже, чем обычный стационарный вариант. Также при выборе трансформирующейся мебели следует отдавать предпочтение проверенным производителям. В противном случае комплектующие могут прийти в негодность даже спустя короткий промежуток времени.
Что касается конструкции и механизмов, они также бывают разными, в зависимости от выбранной модели. Модели с вертикальным расположением спального места полностью скрывают все крупные элементы конструкции. По бокам предусматриваются стеллажи, на которых можно хранить вещи в дневное время.
Горизонтальное расположение конструкции, похоже, как правило, на небольшой раскладывающийся диванчик, который вмонтирован в стену. Такое место для отдыха можно использовать и в дневное время. У большинства моделей по бокам имеются дополнительные полочки.
Стационарные
Кровать в стене может быть стационарной без возможности трансформирования. Такие изделия могут быть встроены в шкаф, а могут располагаться прямо в стене. Для этого нужно чтобы ниша была достаточно глубокой. Размеры спального места могут быть разными. Вы можете приобрести как односпальную модель, так и двуспальную.
В дизайне интерьеров популярным стало расположение кроватей в нише возле окна. Такое расположение позволит создать естественное освещение и легкое пробуждение. Зачастую дизайнеры располагают стационарные кровати в нишах в углу. Это позволяет также сэкономить место и придать комнате необычный вид.
К преимуществам таких видов не трансформируемых кроватей относится:
- Рациональное использование свободного пространства.
- Необычный дизайн интерьера.
- Спальное место может находиться как в нише в стене или же в шкафах в специальном проеме.
- Даже маленькую комнату можно зонировать, и использовать всю площадь с пользой.
К недостаткам относится:
- Отсутствие естественной вентиляции воздуха.
- Ограниченный выбор размеров спального места. Чаще всего ниши предназначаются для небольших односпальных кроватей.
Складная кровать в стену является практичным решением для маленькой комнаты, а также позволит освежить дизайн и придать помещению оригинальный вид. Благодаря огромному выбору моделей, вы сможете подобрать для себя лучшее спальное место, которое сэкономит пространство.
2017 – 2021 Furniture-one.ru – Копирование материалов строго запрещено.
Разновидности встроенных кроватей
Откидная кровать, встроенная во вместительный шкаф, может быть и двуспальной, и односпальной. По способу трансформации их разделяют на горизонтальные и вертикальные. Двуспальные модели традиционно изготавливаются только в одном варианте – с фронтальным откидыванием. Что касается односпальных кроватей, встроенных в стену, то они могут раскладываться по-разному, в зависимости от потребностей владельцев.

Самый распространенный вариант – расположить кровати, встроенные в шкаф, вдоль противоположных стен. Таким образом, между ними останется проход, позволяющий передвигаться по спальне.

Особенность моделей
Встроенные кровати часто устанавливают в квартирах с небольшой квадратурой, на дачах и в загородных домах. При складывании модель превращается в дополнительную секцию гарнитура. Конструкция шкафа со встроенной кроватью позволяет спрятать за дверцей постельное белье. Такую мебель можно установить везде. Варианты использования:
- Гостиная. Если поместить кровать в зале, то у нее появятся сразу два предназначения ‒ это место для ночного сна и зона, где можно отдыхать днем.
- Детская. Ребенок не обходится без свободного пространства. Кровать, спрятанная в нишу, обеспечит ему спортивную, игровую, рабочую зоны. Когда в семье двое или трое детей, то понадобятся многоярусные модели с горизонтальным механизмом.
- Спальня. Встроенная мебель для спальни позволит получить владельцу рабочую зону или гостиную.
Для фиксации матраса и постельного белья в комплект входят ремни, которые удерживают указанные вещи вертикально.
Основные преимущества кроватей:
- Если установлено одноместное ложе с матрасом, появляется 2 квадратных метра дополнительной площади.
- За несколько секунд спальня станет кабинетом, комнатой отдыха, игровой или спортивной зоной.
- Если в модели есть полки, это экономит не только свободную площадь, но и деньги. Единая конструкция стоит меньше, чем заказ отдельных элементов мебели, которые требуют подбора дизайна.
Кроме преимуществ, мебельные изделия такого типа имеют и недостатки:
- Некоторые владельцы психологически не подготовлены иметь кровать и шкаф 2 в 1. Их пугает возможное срабатывание устройства ночью, а днем непроизвольное раскрытие, что приведет к его падению. Кровать, встроенная в нишу, с горизонтальным вариантом трансформации, поможет перебороть психологический дискомфорт.
- Ежедневное складывание и раскладывание.
- В соответствии с правилами безопасности и условиями технической эксплуатации конструкция должна крепиться только на несущие стены.
Гарнитурная стенка хорошо дополняется моделью с открытыми и закрытыми секциями.





Особенности и преимущества конструкции
Трансформер, объединивший шкаф, диван и кровать, — это инновационная разработка в сфере обустройства дома, которая позволяет одновременно использовать функционал нескольких предметов мебели. Основная цель применения таких конструкций состоит в увеличении жилого пространства. Это происходит за счет освобождения места, которое обычно занимает отдельно стоящая мебель. Шкаф-трансформер чаще всего используется в малогабаритных квартирах современной постройки или в так называемых «хрущевках». Также подобная мебель пользуется спросом у владельцев частных домов — с ее помощью можно без труда разместить дополнительное спальное место. Основными преимуществами пользователи называют:
- удобство эксплуатации;
- значительную экономию места;
- стильный внешний вид;
- возможность удивить гостей;
- функциональность.
Конструкционно шкаф-кровать-диван трансформер представляет собой место для отдыха, оснащенное подъемным механизмом. С помощью внешнего воздействия конструкция приподнимается и убирается в короб, размещенный у стены. Так как нижняя часть поднимаемого модуля задекорирована мебельными фасадами, в сложенном виде создается впечатление полного отсутствия кровати и наличия шкафа в комнате. Основным недостатком можно считать зависимость всей конструкции от исправности подъемного механизма. При выходе системы из строя осуществление подъема и закрепления изделия может стать недоступным.



Откидная кровать в дизайне гостиной
Оценив по достоинству все преимущества чудо-техники, необходимо продумать оптимальное место расположения данного предмета мебели. Прежде всего шкаф со встроенной кроватью будет лучшим решением для гостиной, которая в маленькой квартире исполняет еще и роль спальни.




Так, например, в небольшой двухкомнатной квартире родители, как правило, меньшую комнату оставляют детям, а сами располагаются в гостиной. Молодые семьи часто сталкиваются с такими ситуациями. И над грамотной организацией такого пространства с обычной мебелью можно долго размышлять. Вы только представьте, как в такой гостиной может поместиться кресло с небольшим диванчиком, шкаф, журнальный столик с телевизором и кровать. В такой обстановке при лучшем раскладе в комнате могут остаться узенькие проходы между предметами мебели, а сама атмосфера скорее буде напоминать какой-нибудь недорогой хостел с номерами, загроможденными лишней, но все же необходимой мебелью и двухэтажными кроватями напротив друг друга. Другое дело, если кровать будет занимать пространство лишь ночью, а днем оно будет абсолютно свободным.


Шкаф со встроенной откидной кроватью можно разместить вдоль самой узкой стены, оставив достаточно места для опущенного ложе, после чего расставить остальные элементы мебели. Такого рода шкафы могут быть угловыми с множеством ящиков и полок для хранения.


Если комната достаточно широкая, то шкаф с откидной кроватью прекрасно впишется вдоль большой перегородки. Остается только рассчитать место для другой необходимой мебели. Так или иначе следует учесть расположение окон и дверей, чтобы при горизонтальном положении кровати домочадцы могли комфортно передвигаться по комнате.

Подобная мебель-трансформер также будет отличным решением для тех, кто часто принимает у себя дома гостей, а лишней комнаты для таких случаев в квартире не предусмотрено. Со встроенной же кроватью хозяевам не придется беспокоиться об обустройстве гостей на ночлег.


Габариты спального места
Модель откидной кровати выбирается в зависимости от того, кто будет на ней спать. Семейным парам, детям и подросткам, людям разной комплекции и роста понадобятся разные конструкции.
Разновидности трансформирующихся сооружений разных размеров:
- односпальные: 800…900 х 1900…2000 мм;
- полуторные: 1200 х 1900…2000 мм;
- двуспальные: 1600…2200 х 2000 мм.
Односпальная вертикальная кровать-шкаф
Маленьким детям достаточно спального места, имеющего габариты 700 х 1500 мм. Высота потолков позволяет размещать в шкафах кровати, предназначенные для людей, имеющих высокий рост. Длина таких сооружений может варьироваться в пределах 2000…2200 мм.
Многофункциональный шкаф-кровать 6 в 1 с зеркалом, подсветкой, полкой в собранном виде
Варианты фабричных моделей
Ассортимент продукции, предлагаемой производителями, позволяет подобрать нужную конструкцию в зависимости от условий проживания, состава семьи и личных предпочтений.
Таблица. Варианты конструкций шкафов-кроватей.
| Модель | Описание |
|---|---|
Односпальная встроенная кровать | Такая конструкция позволяет обеспечить комфортный сон одному человеку. Ширина спального места составляет 700 или 800 мм, длина – 1900 или 2000 мм. В верхней части шкафа можно разместить, например, комплекты постельного белья. Оставшееся сбоку место также используется для хранения вещей. Заказчику предлагается большой выбор цветовых решений. При желании можно заказать зеркальный фасад. Спальное место комплектуется ортопедической решеткой. |
Конструкция 3 в 1 | Такая конструкция совмещает в себе шкаф с системами хранения вещей, техники или книг, комфортное спальное место для двух человек и диван, который можно использовать после сложения кровати. Такой вариант отлично впишется в интерьер гостиной или квартиры-студии. Сооружение комплектуется освещением (верхним и прикроватным), а также розетками USB. Система хранения производится из ЛДСП. В качестве обивки дивана можно выбрать несколько вариантов тканей (флок, велюр, жаккард, эко-кожа и др. Выбор цветов фасада – обширен. В комплектацию входит фурнитура: газовые лифты, шариковые направляющие, амортизаторы и петли. |
Детская откидная кровать | Особенностью данной конструкции является возможность использования предмета интерьера в сложенном виде в качестве стола. Такая конструкция удобна для размещения в детской комнате, давая возможность подрастающему поколению не только комфортно отдыхать ночью, но и заниматься делами в дневные часы. Пневматическая система сложения позволяет осуществлять трансформирование кровати с легкостью и без шума. |
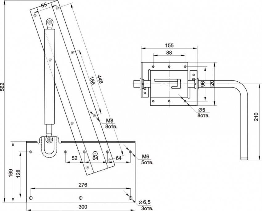
Чертежи кроватей, встроенных в шкаф
Конструкция и отдельные узлы
Схема механизма откидной кровати
Механизм трансформации
Кровать-шкаф трансформер
Двуспальная подъемная кровать
Особенности конструкций
Выбирая мягкую мебель для собственных нужд, человек стремится получить практичное, функциональное, долговечное, эстетичное изделие. Всеми этими качествами обладает трансформирующаяся кровать. Она, так же как и стандартные модели, состоит из двух основных элементов: каркаса, матраса.
Однако имеет некоторые конструктивные особенности, которые зависят от конкретного вида:
- Ножки. Разложенная кровать опирается на специальные складные ноги, которые способны выдержать большие нагрузки. Они предназначены как для людей с избыточной массой тела, так и супружеских пар. В сложенном состоянии их не видно.
- Подъемный механизм. Есть пружинные, газовые, варианты на петлях.
- Короб (шкаф). Специальный элемент, в который встраивается конструкция
- Ремни. Применяются для фиксации постельного белья и матраса.
- Фальш-двери с ручками. Декоративный элемент, изображающий фасад шкафа.
- Ламельная система для опоры матраса.






По типу используемого механизма трансформации можно выделить следующие варианты:
- Выкатывающиеся. Это самые компактные модели, состоят из складных секций, в сложенном состоянии уменьшаются втрое.
- Откидывающиеся. В неразложенном виде представляют собой фасадную часть шкафа. Подъем осуществляется благодаря пневматическим пружинам.
- Поворотно-откидывающиеся. Движение происходит за счет поворотных шарниров.
- Комбинированные. Одновременно выполняют несколько полезных функций.






По функциональности выделяют следующие типы:
- применяемые исключительно для экономии места, например, стандартная шкаф-кровать, спрятанная за фасадом;
- многофункциональные изделия, позволяющие одну область в доме использовать для разных целей, например, диван-кровать, кровать-стол.

























































